Las nuevas motos eléctricas de BMW se inspirarán en el motor bóxer, según estas patentes
La marca alemana ha presentado una serie de patentes relativas a una gama de motocicletas eléctricas que siguen la filosofía técnica de los conocidos motores bóxer alemanes, el cardan.
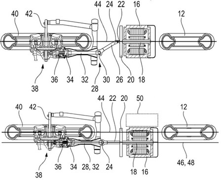
La idea es agregar un nivel extra de flexibilidad en la ubicación del motor, así como crear una motocicleta más compacta y silenciosa, empleando en la base una tecnología que ha caracterizado a la marca durante mucho tiempo y que además ahora evita muchos quebraderos de cabeza.
BMW consolida poco a poco nuevas patentes para su futuro eléctrico
Esta flexibilidad es difícil de lograr con el enfoque de transmisión transversal utilizado por otros fabricantes y significa que hay más libertad en términos de estilo, distribución del peso y colocación de la batería. Además se olvida de correas y cadenas, siendo esta última demasiado escandalosa y se convertiría en el sonido principal en una moto eléctrica.
Pero BMW también está desarrollando nuevas ideas con respecto a la caja de cambios. Los motores eléctricos tienden a girar a altas revoluciones, por lo que deben reducirse. En los modelos de motores transversales, se requiere un eje de transmisión secundario, paralelo al motor. En BMW lo ven de forma diferente y con un engranaje montado directamente detrás del motor (número 20), reduce la velocidad del eje de salida y evita perdidas innecesarias, siendo una disposición simple e inteligente.
BMW Motorrad presentó el concept de moto eléctrica Vision DC Roadster en 2019. Ahora, Markus Schramm, director de la compañía, ha insinuado que en cinco años habrá una moto eléctrica de la marca, diciendo: “como muestra el concept Vision DC Roadster, vemos esto como un sector poderoso de futuro. En el ámbito urbano, es posible que haya una motocicleta BMW eléctrica en cinco años”. Sin embargo, también indicó que las motos eléctricas turísticas, todoterreno o deportivas no es probable que estén en gama de la empresa a corto plazo.
De este modo, se espera que BMW Motorrad traiga una motocicleta eléctrica más pequeña y ágil en la próxima década, posiblemente sería un modelo de cercanías o ciudadano a parte del scooter antes mencionado.
Lo que si es seguro es que BMW no ha sido el primero en apostar por este sistema de transmisión, ya mostrado como solución para eliminar la cadena de las bicis eléctricas, con la propuesta de Driven Technologies. En cualquier caso, si finalmente se implementase el diseño del este eje de transmisión, BMW podría convertirse en el primer fabricante de motos eléctricas en lanzar esta solución al mercado.
En Motorpasión Moto | Probamos la Harley-Davidson LiveWire: la moto eléctrica de Milwaukee es tan sorprendente como demoledora
Tomado de Motorpasion – Moto






