Saltar al contenido

🏍️ Motociclismo &  Rock n Roll 🎸

  • Inicio
    • Quiénes somos
  • Revista
  • Video
  • Rock es cultura
  • Motociclismo
    • Pista
    • Cafe Racer
    • Cruceros
  • Histórico de programas de radio
  • Acreditaciones
    • ALEJANDRA VALLE ARAUJO
    • NADIA PATRICIA LÓPEZ GUTIERREZ
    • RICARDO IZQUIERDO
    • MARIO MURILLO BALDENEGRO
    • MARIO ALBERTO ANAYA SILVA
    • JOSUÉ ANZO MARTÍNEZ
    • IBAN MIRANDA SÁNCHEZ
    • ALEJANDRO PALMA LEDEZMA

🏍️ Motociclismo & Rock n Roll 🎸

  • Inicio
    • Quiénes somos
  • Revista
  • Video
  • Rock es cultura
  • Motociclismo
    • Pista
    • Cafe Racer
    • Cruceros
  • Histórico de programas de radio
  • Acreditaciones
    • ALEJANDRA VALLE ARAUJO
    • NADIA PATRICIA LÓPEZ GUTIERREZ
    • RICARDO IZQUIERDO
    • MARIO MURILLO BALDENEGRO
    • MARIO ALBERTO ANAYA SILVA
    • JOSUÉ ANZO MARTÍNEZ
    • IBAN MIRANDA SÁNCHEZ
    • ALEJANDRO PALMA LEDEZMA
  • Desafía la Selva Negra en Alemania

    Motociclismo / Revista

    13 febrero 2026

     por admin · Published 13 febrero 2026

    Desafía la Selva Negra en Alemania

  • La nueva Suzuki DR-Z4SM Crush es un "graffiti" con ruedas: así es la supermoto más gamberra de 2026

    Motociclismo / Pista

    13 febrero 2026

     por admin · Published 13 febrero 2026

    La nueva Suzuki DR-Z4SM Crush es un «graffiti» con ruedas: así es la supermoto más gamberra de 2026

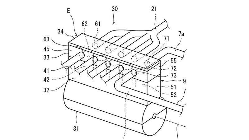
  • Cuando el detalle de una patente lo dice todo: la eléctrica deportiva de CFMoto desvela sus detalles

    Motociclismo

    13 febrero 2026

     por admin · Published 13 febrero 2026

    Cuando el detalle de una patente lo dice todo: la eléctrica deportiva de CFMoto desvela sus detalles

  • James Van Der Beek, protagonista de ‘Dawson’s Creek’ y ‘Varsity Blues’, murió a los 48 años

    Motociclismo / Revista / Rock es cultura

    13 febrero 2026

     por admin · Published 13 febrero 2026

    James Van Der Beek, protagonista de ‘Dawson’s Creek’ y ‘Varsity Blues’, murió a los 48 años

  • Decomisan motos chinas que eran vendidas en Eje Central por ingresar de forma ilegal al país - El Sol de México

    Google noticias / Motociclismo

    12 febrero 2026

     por admin · Published 12 febrero 2026

    Decomisan motos chinas que eran vendidas en Eje Central por ingresar de forma ilegal al país – El Sol de México

Demostrado: Las motos están salvando a Honda. Si solo fuese por los coches eléctricos, estarían en números rojos

Revista

13 febrero 2026

 por admin · Published 13 febrero 2026

Demostrado: Las motos están salvando a Honda. Si solo fuese por los coches eléctricos, estarían en números rojos

Confirmado. Superbikes ha decidido que Álvaro Bautista tendrá que llevar todavía más lastre en su Ducati este año

Revista

13 febrero 2026

 por admin · Published 13 febrero 2026

Confirmado. Superbikes ha decidido que Álvaro Bautista tendrá que llevar todavía más lastre en su Ducati este año

Confirmado. Superbikes ha decidido que Álvaro Bautista tendrá que llevar todavía más lastre en su Ducati este año

Revista

13 febrero 2026

 por admin · Published 13 febrero 2026

Confirmado. Superbikes ha decidido que Álvaro Bautista tendrá que llevar todavía más lastre en su Ducati este año

Triumph confirma las versiones especiales de su trail mediana para este mercado clave: qué ofrecen y a qué precio llegan

Revista

13 febrero 2026

 por admin · Published 13 febrero 2026

Triumph confirma las versiones especiales de su trail mediana para este mercado clave: qué ofrecen y a qué precio llegan

Grave accidente de moto y un bus en la autopista Norte, en Medellín, dejó un muerto - Yahoo

Google noticias / Motociclismo

12 febrero 2026

 por admin · Published 12 febrero 2026

Grave accidente de moto y un bus en la autopista Norte, en Medellín, dejó un muerto – Yahoo

  • Página siguiente »

Seguir:

Kawasaki Hermosillo

Facebook Page Like

febrero 2026
L M X J V S D
 1
2345678
9101112131415
16171819202122
232425262728  
« Ene    

Like US on Facebook

Like US on Twitter

Follow @https://twitter.com/YRocknroll

🏍️ Motociclismo & Rock n Roll 🎸 © 2026. Todos los derechos reservados.

Funciona con  - Diseñado con el Tema Hueman