Saltar al contenido

🏍️ Motociclismo &  Rock n Roll 🎸

  • Inicio
    • Quiénes somos
  • Revista
  • Video
  • Rock es cultura
  • Motociclismo
    • Pista
    • Cafe Racer
    • Cruceros
  • Histórico de programas de radio
  • Acreditaciones
    • ALEJANDRA VALLE ARAUJO
    • NADIA PATRICIA LÓPEZ GUTIERREZ
    • RICARDO IZQUIERDO
    • MARIO MURILLO BALDENEGRO
    • MARIO ALBERTO ANAYA SILVA
    • JOSUÉ ANZO MARTÍNEZ
    • IBAN MIRANDA SÁNCHEZ
    • ALEJANDRO PALMA LEDEZMA

🏍️ Motociclismo & Rock n Roll 🎸

  • Inicio
    • Quiénes somos
  • Revista
  • Video
  • Rock es cultura
  • Motociclismo
    • Pista
    • Cafe Racer
    • Cruceros
  • Histórico de programas de radio
  • Acreditaciones
    • ALEJANDRA VALLE ARAUJO
    • NADIA PATRICIA LÓPEZ GUTIERREZ
    • RICARDO IZQUIERDO
    • MARIO MURILLO BALDENEGRO
    • MARIO ALBERTO ANAYA SILVA
    • JOSUÉ ANZO MARTÍNEZ
    • IBAN MIRANDA SÁNCHEZ
    • ALEJANDRO PALMA LEDEZMA

Archivo mensual: enero 2026

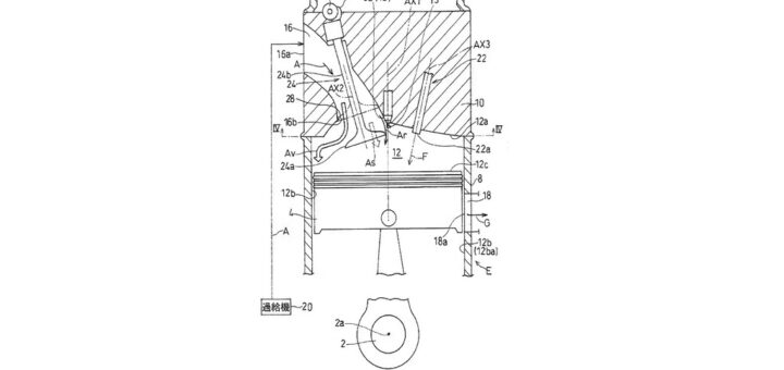
El motor de dos tiempos resucita. Estamos a punto de vivir una nueva era de la moto gracias a la carrera de Japón y Estados Unidos

Revista

8 enero 2026

 por admin · Published 8 enero 2026

El motor de dos tiempos resucita. Estamos a punto de vivir una nueva era de la moto gracias a la carrera de Japón y Estados Unidos

Acosta lo tiene claro con el nuevo fichaje de Honda: "Tarde o temprano será competitivo"

Motociclismo / Pista

8 enero 2026

 por admin · Published 8 enero 2026

Acosta lo tiene claro con el nuevo fichaje de Honda: «Tarde o temprano será competitivo»

Yamaha presentó un plan de ahorro para la Ténéré 700

Revista

7 enero 2026

 por admin · Published 7 enero 2026

Yamaha presentó un plan de ahorro para la Ténéré 700

Bajaj Pulsar NS125 y NS400Z: la apuesta Naked de Bajaj para su expansión internacional

Motociclismo / Revista

7 enero 2026

 por admin · Published 7 enero 2026

Bajaj Pulsar NS125 y NS400Z: la apuesta Naked de Bajaj para su expansión internacional

¿La resurrección del motor rotativo en 2026? El Wankel como salvavidas del hidrógeno

Motociclismo / Revista

7 enero 2026

 por admin · Published 7 enero 2026

¿La resurrección del motor rotativo en 2026? El Wankel como salvavidas del hidrógeno

  • « Página anterior
  • Página siguiente »

Seguir:

Kawasaki Hermosillo

Facebook Page Like

enero 2026
L M X J V S D
 1234
567891011
12131415161718
19202122232425
262728293031  
« Dic   Feb »

Like US on Facebook

Like US on Twitter

Follow @https://twitter.com/YRocknroll

🏍️ Motociclismo & Rock n Roll 🎸 © 2026. Todos los derechos reservados.

Funciona con  - Diseñado con el Tema Hueman